PS3 = Der bessere Wii?

Eben was interessantes gefunden.

Sony arbeitet an neuem Controller für die PS3
PlayStation 3 neu

  1. Dez 2006, 23:33 Als Sony die PlayStation 3 entwickelte, konzipierte man den mehrfach überarbeiteten Controller so, dass dieser – ähnlich wie die Wiimote von Nintendos Wii – auf Bewegungen des Spielers reagiert. Allerdings funktioniert Sonys Eingabegerät nicht ganz so wie Nintendos, dies möchte man offenbar aber ändern.

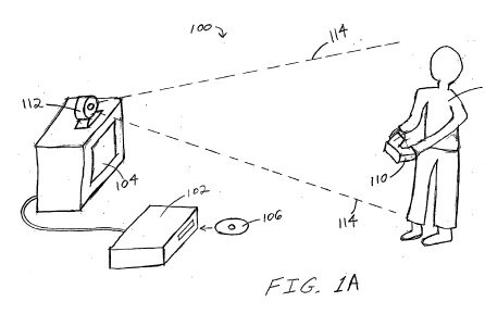
Denn wie die Kollegen von Dailytech berichten, hat Sony bereits im Mai dieses Jahres ein neues Patent angemeldet, das einen erweiterten Controller zum Inhalt hat. Sony sicherte sich in diesem die Rechte an einem Eingabegerät, das über eine Vielzahl verschiedener „optisch erfassbarer Elemente“ verfügt, die in einen Controller integriert werden können. Hierbei wird es sich höchstwahrscheinlich um LEDs handeln, die dann von einem optischen Erfassungssystem wahrgenommen werden können – zumindest dann, wenn der Controller in Richtung des Geräts ausgerichtet ist.

Auszug aus Sonys Patentschrift

Bei diesem Bilderfassungsgerät handelt es sich dabei höchstwahrscheinlich um eine spezielle Kamera. Ob diese so funktionieren wird, wie die bereits von der PlayStation 2 bekannte EyeToy-Kamera, oder ob es sich dabei um eine Neuentwicklung handelt, ist derzeit leider noch nicht bekannt. Sony beschreibt in seinem Patent allerdings, was das optische System leisten können soll. So geht man davon aus, dass man so eine Vielzahl verschiedener Bewegungen erfassen könne. Dazu gehören neben Bewegungen in alle erdenklichen Himmelsrichtungen auch Drehungen des Controllers, die dann in das System übertragen werden. Sony möchte es so möglich machen, dass der Spieler zum Beispiel seine Bewegungen in Sportspielen sehen kann oder aber auch mit einem Pinsel arbeiten und einen Schwertkampf führen kann.

Auszug aus Sonys Patentschrift


All das erinnert doch stark an das Bedienkonzept von Nintendos Wii, das mittels der bewegungsempfindlichen Wiimote umgesetzt wird. Beide Unternehmen setzen allerdings auf andere Techniken. Denn während Sony ein optisches Erfassungssystem nutzt, setzt Nintendo auf Sensoren, die die Bewegungen des Spielers registrieren und dann an die Spielekonsole weiterleiten.

Sony könnte mit diesem Patent aber auch sicher stellen, sich gegen zukünftige Schadensersatzforderungen zu schützen, wenn man denn ein solches Peripheriegerät auf den Markt bringen sollte. Mit solchen Klagen hat Sony bereits Erfahrungen sammeln können, musste man doch in der Vergangenheit gut 80 Millionen US-Dollar nach der Einführung des DualShock-2-Controllers zahlen. Damals verletzte die Vibrationsfunktion des Eingabegeräts ein Patent eines anderen Unternehmens.

Sehr sehr interessant imo. Grafik auf hohem Niveau und das gesamte Gefuchtel im Gegensatz zum Wii nur optional. Könnte etwas werden und lässt die PS3 für mich wieder etwas interessanter werden.

..na ja abwarten sag ich mal!

Nur peinlich. Wie kann man als Konsolenhersteller nur so offen zugeben, dass man fremde Konzepte kopiert, weil man keine eigenen Ideen hat?
Ich raff nich, dass die Sony-Käufer das nich peilen…
Vor allem, sicher wird die PS3 dadurch nochmal ein Stückchen teurer. Sony sollte lieber erstmal zusehen, dass sie die Konsole überhaupt in Europa auf den Markt bringen können und dann können die weitergucken…

OH MEIN GOTT.

Wie tief muss eine Firma sinken um inovative Ideen einer anderen Firma zu klauen. Aber das macht Sony ja nicht zum ersten mal. Denn schließlich wurde ja auch der Control-Stick von Nintendo erfunden worden und flux von Sony kopiert.
Und jetzt das. Sony richtet sein Imperium auf den Erfolg Anderer auf und das ist ehrlos und eine Schande. Und nur weil sie da eine andere, optische Erfassungsmöglichkeit benutzt ist das noch lange nicht die große tolle Idee von Sony.
Interessant ist eben, dass sie erst jetzt damit kommen, wo Wii bereits erhältlich ist und Sony die Konsole sezieren konnte, um die guten Elemente zu kopieren. Sicher will Sony was von dem Erfolg Nintendos abhaben, wenn man sich die Amerikanischen Verkaufszahlen vom Wii und der PS3 ansieht. Wie Machtgeil kann man eigentlich sein.

PFUI SONY!!!

Original von BigDan
Ich raff nich, dass die Sony-Käufer das nich peilen…

Der Großteil interessiert sich überhaupt nicht für diese Informationen, sondern beurteilt nur das, was im Laden steht. Dem Rest dürfte es, zurecht, egal sein. Kaufst du dir auch keinen VW mehr, wenn du erfährst, dass VW bei der Konstruktion des Motors sich ganz genau die Skoda Karren angeschaut hat (rein fiktiv!). Wäre mir um ehrlich zu sein auch wurst, wichtig ist das, was ich am Ende habe.
Würden die Firmen nicht ständig voneinander abschauen, würde das den Fortschritt deutlich verlangsamen und das würde letztlich auch niemandem helfen. „Ehre“ gibt es bei dem ständigen Streben nach Gewinnmaximierung ohnehin nicht.

Original von Seph

[quote]Original von BigDan
Ich raff nich, dass die Sony-Käufer das nich peilen…

Der Großteil interessiert sich überhaupt nicht für diese Informationen, sondern beurteilt nur das, was im Laden steht. Dem Rest dürfte es, zurecht, egal sein. Kaufst du dir auch keinen VW mehr, wenn du erfährst, dass VW bei der Konstruktion des Motors sich ganz genau die Skoda Karren angeschaut hat (rein fiktiv!). Wäre mir um ehrlich zu sein auch wurst, wichtig ist das, was ich am Ende habe.
Würden die Firmen nicht ständig voneinander abschauen, würde das den Fortschritt deutlich verlangsamen und das würde letztlich auch niemandem helfen. „Ehre“ gibt es bei dem ständigen Streben nach Gewinnmaximierung ohnehin nicht.[/quote]

wobei man sagen muss, das VW der etablierte name ist und in diesem fall skoda zu VW gehört, was die wirkung deines beispieles damit gleich null setzt, denn VW hat das größere ansehen, bringt die innovationen usw und einige skoda modelle benutzen die gleichen oder profitieren davon und dabei ohne dreist ideen anderer zu klauen o.ä.

Original von Seph

[quote]Original von BigDan
Ich raff nich, dass die Sony-Käufer das nich peilen…

Der Großteil interessiert sich überhaupt nicht für diese Informationen, sondern beurteilt nur das, was im Laden steht. Dem Rest dürfte es, zurecht, egal sein. Kaufst du dir auch keinen VW mehr, wenn du erfährst, dass VW bei der Konstruktion des Motors sich ganz genau die Skoda Karren angeschaut hat (rein fiktiv!). Wäre mir um ehrlich zu sein auch wurst, wichtig ist das, was ich am Ende habe.
Würden die Firmen nicht ständig voneinander abschauen, würde das den Fortschritt deutlich verlangsamen und das würde letztlich auch niemandem helfen. „Ehre“ gibt es bei dem ständigen Streben nach Gewinnmaximierung ohnehin nicht.[/quote]

gut das du rein fiktiv hingeschrieben hast. da skoda eine marke im vw-konzern ist.

hmm stell mir das zwar lange nich so interessant vor wie bei Wii aber gut. Lieber ein länglichen Gegenstand in einer Hand halten und zustechen als beide Arme wie doof nach vorne zu bewegen.

Das Prob werden die unwissenden Kunden sein.
„Tolle Grafik und sonst dasselbe wie Nintendo…lass mal das nehmen.“

Original von nerr

[quote]Original von Seph

[quote]Original von BigDan
Ich raff nich, dass die Sony-Käufer das nich peilen…

Der Großteil interessiert sich überhaupt nicht für diese Informationen, sondern beurteilt nur das, was im Laden steht. Dem Rest dürfte es, zurecht, egal sein. Kaufst du dir auch keinen VW mehr, wenn du erfährst, dass VW bei der Konstruktion des Motors sich ganz genau die Skoda Karren angeschaut hat (rein fiktiv!). Wäre mir um ehrlich zu sein auch wurst, wichtig ist das, was ich am Ende habe.
Würden die Firmen nicht ständig voneinander abschauen, würde das den Fortschritt deutlich verlangsamen und das würde letztlich auch niemandem helfen. „Ehre“ gibt es bei dem ständigen Streben nach Gewinnmaximierung ohnehin nicht.[/quote]

wobei man sagen muss, das VW der etablierte name ist und in diesem fall skoda zu VW gehört, was die wirkung deines beispieles damit gleich null setzt, denn VW hat das größere ansehen, bringt die innovationen usw und einige skoda modelle benutzen die gleichen oder profitieren davon und dabei ohne dreist ideen anderer zu klauen o.ä.[/quote]

Ich habe extra „rein fiktiv“ dazu geschrieben. Meinetwegen ersetze es durch BMW und Mercedes, ist doch völlig Wurst. Ist für das Beispiel gar nicht relevant.

Original von Chucky
hmm stell mir das zwar lange nich so interessant vor wie bei Wii aber gut. Lieber ein länglichen Gegenstand in einer Hand halten und zustechen als beide Arme wie doof nach vorne zu bewegen.

Das Prob werden die unwissenden Kunden sein.
„Tolle Grafik und sonst dasselbe wie Nintendo…lass mal das nehmen.“

ähm. nein.

der preis ist auch entscheidend. genauso wie marketing. und gute spiele.

Und da Sony ja NUR miese Spiele rausbringt und die Ps3 (genau wie die PS2) niemals im Preis sinken wird…
Gegen Nintendo spricht die Grafik und das Kiddy Image. Auch das ist für viele Entscheidend. Bisher konnte Nintendo das dreimal wieder mit dem Controlller wieder gutmachen aber ohne den siehts schon anders aus.
Ist natürlich auch reine spekulation. Ich denke das Nintendo mehr auf die Steuerung eingeht und sie mehr nutzt als Sony aber das wird sich erst noch zeigen.

euch ist klar das die LEDs normale LEDs sind und zeigen welcher spieler man ist?

die nachricht ist eine ente. eine lustige. denn so viele scheinen sie zu glauben :bg:

genial ist das auf den patenbilder keine erwähnung von der „umgekehrten wii“-technik ist.

denn wie der heinzel schreibt:

Denn während Sony ein optisches Erfassungssystem nutzt, setzt Nintendo auf Sensoren, die die Bewegungen des Spielers registrieren und dann an die Spielekonsole weiterleiten.

ist es natürlich falsch :ar:
der pointer aufm bildschirm wird natürlich nicht von den sensoren gesteuert sondern mittels kamera und LED bar (auch sensorbar genannt).
die kamera in der wiimote registriert die LEDs aus der sensorbar und gibt die daten an die konsole.
wäre die ente nun wahr dann würde die eye toy kamera LEDs an den controllern rkennen… man kann sich vorstellen was die kamera noch alles als orientierungspunkt erkennen würde :bg:
zudem wären multiplayer spiele unmöglich.

und leshcni.. du weißt das es schwachsinn ist.. ärger die nintendofans doch nicht so :bg:

Was für ein Unsinn. Allein die Tatsache, dass der Redakteur wohl keine Ahnung darüber hat wie das Prinzip der Sensorbar läuft …

Und ein paar LEDs sollen durch einen simplem Bildsensor präzise sein?? Hallo??? Bitte aufhören :b:

Sonst muss ich Samb zuleide wieder was über Digitalkameras erzählen :smiley:

Egal was Sony mit der PS3 macht, sie wird aufjedenfall alle anderen Konsolen ownen, und diese Wii steuerung ist halt ein Gimmick dazu…

Egal was Sony mit der PS3 macht, sie wird aufjedenfall alle anderen Konsolen ownen, und diese Wii steuerung ist halt ein Gimmick dazu…

ey junge.. es geht nicht darum, was du dir einbildest, was du gene hättest oder um irgend eine abgefuckte fanboyscheisse in hinsicht auf den erfolg einer konsole… sieh dir die verkaufszahlen an, dann siehste mal wer hier wen owned! im moment owned die 360 alles auf dem nextgen-markt. platz 2 hat nintendo und platz belegt 3 sony. die xbox 360 hat sich in einem jahr ca. 8 mio. mal verkauft. die wii in kanpp nem monat schon ca. 2 mio. mal, während sich die ps3 in der selben zeit gerade mal ne halbe mio. mal verkauft hat. is doch egal ob der preis zu hoch ist oder es produktionsengpässe gibt. letztendlich hat sich die wii 4 mal öfter verkauft als die ps3 und und einem monat schon ein viertel der 360 eingeholt.

also wer owned hier jetzt wen? einfach mal realistisch bleiben. mit faktenlosem uninformierten rumgebashe machsse dich nur lächerlich.

p.s.: freu mich schon auf eine bashor-fanboy-antwort die null konter bringt und die ignoranz und nicht vorhandene argumentationsfähigkeit des antwortenden wiederspiegelt. ich wär überrascht, wenns nach diesem post anders wär!

oha seid ihr böse^^
naja wies mit den verkaufszahlen aussieht werden wir erst in einem jahr sehen.
die ps3 ist in europa ja nochnicht einmal released…
aber mir ist es grade egal was an der ps3 noch alles kommt und was nachgemacht ist und was nicht.
Ich kann mich auch über die wii freuen wenn ich weis dass die ps3 besser ist.
mir ist es völlig egal, ich habe die wii nur deswegen gekauft (bzw bekomm ich sie heute abend :wink: ) weil die neue steuerung wirklich so aussieht als würde es einen heiden spaß machen. sonnst würde ich noch auf meinem cube weiterspielen bis die wii wieder ca. 100€ kostet. mit grafikpracht ect. bringt mich niemand dazu 600€ auszugeben!
mir geht es um spielspaß und den hab ich auch bei einer „schlechten“ grafik. mein gott ich mag den „comik-stil“ sowieso viel lieber als realistische grafik :slight_smile: